国际商标注册
“七匹狼”是福建七匹狼集团旗下的知名服装品牌,此前的定位一直是商务男装,但在近年来不仅勾搭上了香奈儿的设计师,还想转型“时尚集团”,为此投资了3.2亿元的设计师品牌。
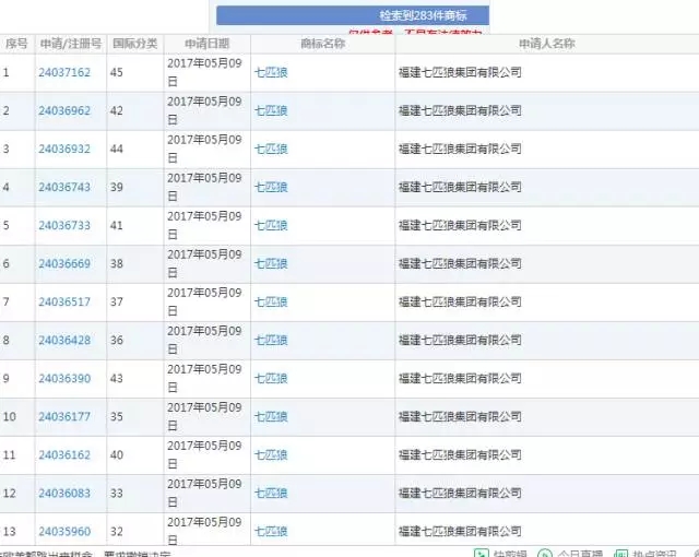
到了品牌发展到一定程度后,都会选择全类注册来?;ぷ约旱纳瘫辍F咂ダ蔷褪钦庋?/span>

然而,百密终有一疏,纵然七匹狼已经进行了全类注册,仍然遇到了问题。七匹狼公司监测到,锡山区骑匹狼电动车厂注册了“骑匹狼”的商标,并推出了“骑匹狼”电动车。七匹狼怎么可能容忍这种谐音蹭名牌的行为发生在自己头上,况且自己叫“七匹狼”,对方叫“骑匹狼”,岂不是让对方骑在自己头上?
于是七匹狼拿出了第1922860号“七匹狼”商标作为引证商标。这枚商标是七匹狼的一枚防御商标,来诉讼“骑匹狼”,最终北京市高级人民法院认为缺乏事实依据,不予支持。商标评审委员会最终裁定“骑匹狼”商标予以维持。
这也意味着,“骑匹狼”可以光明正大在市场上继续存在了。这让七匹狼很是无奈?。。?/span>
看来七匹狼在商标?;さ奈侍馍匣剐瓒喽嗉忧?,多注意谐音的七匹狼?。∪绻阌泄赜谏瘫甑奈侍庀胛?,欢迎到鼎智知识产权了解吧!!
国际商标注册
“七匹狼”是福建七匹狼集团旗下的知名服装品牌,此前的定位一直是商务男装,但在近年来不仅勾搭上了香奈儿的设计师,还想转型“时尚集团”,为此投资了3.2亿元的设计师品牌。
到了品牌发展到一定程度后,都会选择全类注册来?;ぷ约旱纳瘫辍F咂ダ蔷褪钦庋?/span>

然而,百密终有一疏,纵然七匹狼已经进行了全类注册,仍然遇到了问题。七匹狼公司监测到,锡山区骑匹狼电动车厂注册了“骑匹狼”的商标,并推出了“骑匹狼”电动车。七匹狼怎么可能容忍这种谐音蹭名牌的行为发生在自己头上,况且自己叫“七匹狼”,对方叫“骑匹狼”,岂不是让对方骑在自己头上?
于是七匹狼拿出了第1922860号“七匹狼”商标作为引证商标。这枚商标是七匹狼的一枚防御商标,来诉讼“骑匹狼”,最终北京市高级人民法院认为缺乏事实依据,不予支持。商标评审委员会最终裁定“骑匹狼”商标予以维持。
这也意味着,“骑匹狼”可以光明正大在市场上继续存在了。这让七匹狼很是无奈?。。?/span>
看来七匹狼在商标?;さ奈侍馍匣剐瓒喽嗉忧?,多注意谐音的七匹狼?。∪绻阌泄赜谏瘫甑奈侍庀胛?,欢迎到鼎智知识产权了解吧!!
国际商标注册
关键字:国际商标注册

