上文说了“雅鹿晗”,其实除了雅鹿晗以外,鼎智小编还发现了其他鹿晗,例如:
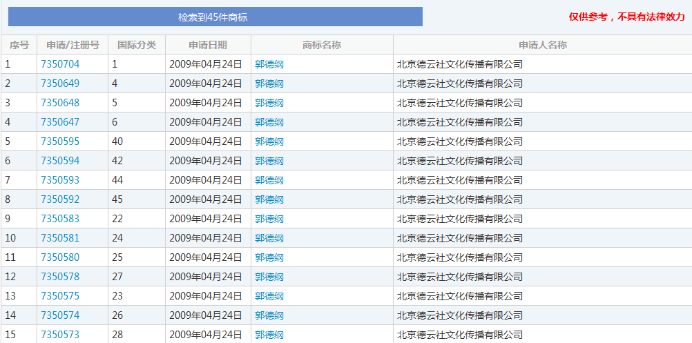
虽然商标法中有“在先姓名权”能够作为维护,如果对于明星大咖来说,自己的姓名如果被注册到去污剂、磨牙剂上,那也是十分差劲的一件事。在对自己姓名权的?;ど?,有些明星就远光就放得很远。比如:郭德纲,他早早的就对自己的姓名申请了全类别?;ぁ?
无论是歌神张学友。
仍是音乐天王周杰伦
连00的小鲜肉也没放过
综艺节目上热火的小鲜肉也是如此
现在新商标法公布后,专门对名人姓名权的维护方面拟定了新规:名人享有在先姓名权的权力。这项规则直接把一些“傍名牌”获利的商家的想念直接给堵死了。
看完了!如果您需要 国际商标注册,深圳商标注册,深圳公司注册 的都可以咨询鼎智知识产权!

