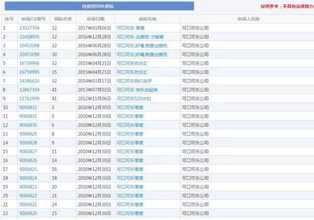
对于商标的?;げ恢皇窃诒砻?,而应该落在实处。像“可口可乐”这样几乎覆盖了商标的所有品类,比如:第3类日化用品类别、第5类医药类别、第6类金属材料类别、甚至是第8类手工机械和第9类科学仪器等等类别,(简直就是“丧心病狂”)可又不得不服!不过这也并非“没事找事”,试想如果某家做洁厕用品的公司用了“可口可乐”名字并注册了商标,那可口可乐将会引起多大异议呢?
所以多注册商标的多类别?;な嵌嗝粗匾质嵌云笠捣⒄构讨斜匦胫厥拥氖虑?。因此,用好“商标”,才能使企业形象正面良好的发展下去。
最后,鼎智知识产权提醒您:企业想要长久发展,就必须审时度势,思虑周到。若等到企业做大,才后知后觉的发现?;て放频闹匾?,那么在注册时难度加大,一方面是难度很大,另一方面是代价会很大,中国有上千万乃至上亿买商标的案例,就足以说明商标的重要性。因此,商标方面要注重保护多类或者是全类商标,唯有如此才能走的更远。
看完了!如果您需要 国际商标注册,深圳商标注册,深圳公司注册 的都可以咨询鼎智知识产权!

